
| Instructieboekje 5 HP Citroën Vertaling van Notice d’Entretien 5 HP Citroën |
1
DE CITROËN-BIBLIOTHEEK
Catalogus van reparaties 5 HP ……1 Fr 50 C
Catalogus van reparaties 10 HP……1 Fr 50 C
Kleine brochures die erg handig zijn voor de eigenaar van een CITROËN, ze stellen hem in staat om vooraf de kosten van de reparatie te kennen waarmee hij rekening moet houden bij inschakeling van een CITROËN-dealer. Bij hen geen willekeurige reparatiefacturen meer als hoofdbrekens voor de klant, maar toepassing van redelijke en identieke prijzen in heel Frankrijk.
Onderdelencatalogus 5 HP…….………12 Fr
Met prijs van onderdelen.
Onderdelencatalogus 10 HP…………..20 Fr
Met prijs van onderdelen.
Deze publicatie bevat de nomenclatuur van alle reserveonderdelen, evenals vele fotografische afbeeldingen die het herkennen vergemakkelijken.
Erg luxe en compleet werkstuk.
Gids voor het verkennen van steden…20 Fr
Collectie met meer dan 500 zeer duidelijke kaarten die automobilisten helpen bij het vinden van de beste routes om de bebouwde kom te verkennen. Bovendien zijn op deze plattegronden aangegeven de hotels, de stations, de postkantoren evenals de CITROËN-dealers. Deze gids is essentieel voor reizen met de auto.
2
Onderhoudsinstructies voor de 10 HP……10 Fr
Luxueus geredigeerd werk, waarin de auteur, de eminente technicus Baudry de Saunier, wist hoe hij een droog onderwerp bijzonder aantrekkelijk moest maken. Het is vooral ontworpen in een praktische geest en geeft automobilisten de recepten waarmee ze uit hun CITROËN alle voldoening kunnen halen die ze kunnen verwachten.
In voorbereiding:
5 HP Citroën Onderhoudshandleiding
Werk ontworpen in dezelfde geest als de 10 HP handleiding (zal verschijnen eind 1925).
Woordenboek van reparaties.
Geeft tot in detail weer hoe de belangrijkste reparaties aan CITROËN-auto’s moeten worden uitgevoerd. Een zeer duidelijke tekst en uitgebreide fotodocumentatie stellen bezitters van een CITROËN in staat om de meest voorkomende reparaties zelf uit te voeren, met standaard gereedschap.
Dit prachtige werk bestaat uit een groot aantal uitneembare bladen die door middel van een speciaal systeem zijn bevestigd in een luxe omslag. Een doorzichtige Pegamoid-zak waarin het gebruikte blad wordt geschoven, garandeert het tegen elk contact dat het kan beschadigen of bevuilen.
————
Om een van deze werken te ontvangen, hoeft u alleen maar een aanvraag in te dienen bij de Citroën-fabrieken en daarbij de exacte titel van het gevraagde deel te vermelden. De verzending vindt plaats na ontvangst van het bedrag van de waarde of onder rembours, naar keuze van de klant.
3
INHOUDSOPGAVE
I. BESCHRIJVING VAN DE AUTO
Chassis. – Motorblok. – Motor. – Koppeling. Versnelling. – Cardanas. – Achterdek. – Achterbrug. Vering. – Wielen. – Remmen. – Stuurinrichting. – Elektrische uitrusting
(pagina’s 5 tot 13).
II. GEBRUIK VAN DE AUTO
Bedieningsorganen. – Aanzetten. – Onderweg…
(pagina’s 13 tot 18).
III. ONDERHOUD EN SMERING
Motor. – Koppeling. – Versnelling. -Achterbrug. – Transmissie. – Stuurinrichting. – Vooras. – Ophanging. – Vering. – Magnéto. – Elektrische uitrusting. – Koplampen en lantaarns
(pagina’s 18 tot 27).
IV. STORINGEN, MANKEMENTEN EN OPLOSSINGEN
Motor. – Carburateur. – Elektrische uitrusting. – Koppeling. – Versnellingsbak. – Stuurinrichting. – Remmen. – Voorzorgsmaatregelen tegen bevriezing. – Banden
(pagina’s 28 tot 38).
4
I. BESCHRIJVING VAN DE AUTO
CHASSIS.
Het chassis van de 5 HP Citroën is gemaakt van gestanst plaatstaal. Het is trapeziumvormig om vervorming van de balken te voorkomen. De langsbalken zijn verbonden door drie dwarsbalken; de tussenliggende dwarsbalk dient als steun aan de voorkant van de motor. Op de langsbalken zijn de beugels geklonken waaraan de voor- en achterveren zijn bevestigd.
Motorblok.
De motor, de koppeling en de versnellingsbak zijn verenigd in één blok. Het geheel is dus beter toegankelijk en maakt bevestiging aan het chassis op slechts drie punten mogelijk, wat het geheel beschermt tegen vervormingen door de weggesteldheid.
Motor.
Het is een 4-cilinder met een boring van 55 mm en een slag van 90 mm, die bij een toerental van 2.100 tpm, een vermogen van 11 pk geeft. Het cilinderblok is gemaakt van gietijzer, de cilinderkop is afneembaar waardoor de bovenkant van de zuigers en de binnenkant van de kamers kunnen worden gereinigd zonder het cilinderblok te hoeven demonteren. Smering is sproeismering op constant niveau. Een schottenpomp zuigt olie uit het carter, dat een reservoir vormt en giet het via een leiding in bakjes waar de lepels van de drijfstangen in worden gedompeld.
5


Deze lepels werpen de olie in de cilinder. De olie die uit de motor terugkomt, passeert een filter en wordt weer opgezogen door de pomp.
De distributie loopt via spiraalvormige tandwielen. De stelschroeven van de kleppen zijn verstelbaar. Er moet een klepspeling zijn van 3/10 mm voor zowel de inlaat- als de uitlaatklep.
De ontsteking werkt door een magneto. De ontstekingsvervroeging is vast, het is 3 mm voor het einde van de compressie.
Een metalen knop die op het dashboard van de auto is geplaatst, maakt het mogelijk om de ontsteking uit te schakelen en zo de motor te stoppen.
De koeling vindt plaats door een radiateur, watercirculatie door thermosifon en ventilator. De inhoud van de radiateur is ongeveer 7 liter.
De carburateur is een horizontale ‘Solex’.
Deze heeft twee sproeiers, één die de stationaire sproeier wordt genoemd, werkt wanneer de motor wordt gestart en wanneer de motor op laag toerental draait (zie afb. 10). Als de door het gaspedaal bediende inlaatklep van de carburateur opengaat, houdt de stationaire sproeier geleidelijk op te werken en zorgt alleen een grote sproeier voor de overname en de normale snelheden.
Op de carburateur is een sluiter gemonteerd die een gemakkelijkere start mogelijk maakt en die vanuit de auto kan worden bediend met een grote knop die op het dashboard is bevestigd.
De brandstoftoevoer vindt plaats door een zwaartekrachttank; de achter het dashboard geplaatste tank heeft een inhoud van 18 liter.
8
Koppeling.
De koppeling is van het drooglopende type met één plaat; een apparaat voor het instellen van de veerspanning is gemakkelijk toegankelijk zonder enige demontage. De koppeling wordt bediend met het linkerpedaal.
Versnellingsbak.
Het schakelen heeft drie versnellingen vooruit en één versnelling achteruit. Een versnellingspook met kogelscharnier bedient twee schuifregelaars, waarvan de vergrendeling wordt verzekerd door een kogel die wordt vastgehouden door een bladveer.
Cardanas.
De roterende beweging wordt op de cardanas overgebracht door een flexibele schijf die op drie punten op de remtrommel op het differentieel aan de achterkant van de versnellingsbak is bevestigd. De cardanas wordt aan de voorzijde ondersteund door een kogelgewricht aan het uiteinde van de primaire as en in de mantelbuis door drie kogellagers.
Achterbrug.
De achteras bestaat uit een conisch tandwiel en een differentieel met visgraattandwielen.
9
Vering
Vier halve bladveren zorgen voor de vering. De twee voorste halve veren hebben geen scharnierende verbinding; de twee achterste halve veren zijn scharnierend op de buizen van de achterbrug. Het tweede blad van de voorveren steekt boven de as uit en kan bij breuk van het hoofdblad tijdelijk de rol van dragend blad vervullen.
Stuurinrichting
De stuurinrichting is een schroef zonder einde en deels getand en daarom onomkeerbaar. Het stuurwiel draagt het claxoncontact in het midden.
Wielen.
De wielen zijn gemaakt van gestanst plaatstaal; ze zijn gemakkelijk te verwijderen en worden alleen met vier moeren op de naven bevestigd. Ze hebben Comfort- banden van 71,5 x 115. De spoorbreedte is 1.19 m en de wielbasis is 3.35 m.
Remmen.
Het remsysteem bestaat uit twee soorten remmen:
1e Een differentieelrem geplaatst aan de uitgang van de versnellingsbak, bestuurd door een pedaal.
2e Een rem op de achterwielen door middel van een hendel via een dwarsstang.
10
Elektrische uitrusting.
De elektrische uitrusting van de 5 HP omvat:
1e Een dynamo-generator geplaatst aan het voorste uiteinde van de krukas en aangedreven door de motor. Het levert de stroom die nodig is voor het opladen van een accu en het bedienen van diverse elektrische installaties. Een contact-stroomonderbreker, bevestigd op het dashboard van de auto, heeft de functie om te voorkomen dat de batterij ontlaadt in de dynamo wanneer deze niet of langzaam draait.
2e Een 45 ampère-uur accu die dient als buffer tussen de dynamo en de verschillende elektrische apparaten. Deze batterij levert de energie die nodig is voor het starten en de verlichting als de motor niet draait. Met de auto in rust kan de accu ongeveer 30 uur stadsverlichting leveren.
3e Een starter gevormd door een dynamo die stroom ontvangt van de accu via een startpedaal en een bendix die een getande ring bestuurt die op het vliegwiel van de motor is geplaatst.
4e Een lichtschakelaar, een ampèremeter die beide op het dashboard zijn bevestigd en een claxon in het midden van het stuur.
5e Twee parabolische projectoren die als koplampen of als lantaarns kunnen worden gebruikt, een achterlicht en een elektrische claxon onder de motorkap.
11

12
DE CARROSSERIE
De verschillende carrosseriemodellen die momenteel op het 5 HP-chassis zijn gemonteerd, zijn de volgende:
Driezits Torpedo;
Tweezits cabriolet.
II. GEBRUIK VAN DE AUTO
Bedieningsfuncties.
De bediening van de diverse bedieningsfuncties van de auto wordt als volgt uitgevoerd:
De bestuurder houdt het stuur in zijn handen;
hij bepaalt:
Met de rechterhand:
De verandering van snelheid;
De remmen op het achterwielen;
De contactschakelaar;
De koplamp- en lantaarnschakelaar.
Met de rechter voet:
Het gaspedaal;
De differentieelrem;
De pedaal van de startmotor.
Met de linkervoet:
De koppeling.
13
Ten slotte heeft de bestuurder een elektrische claxon waarvan de bedieningsknop zich in het midden van het stuur bevindt.

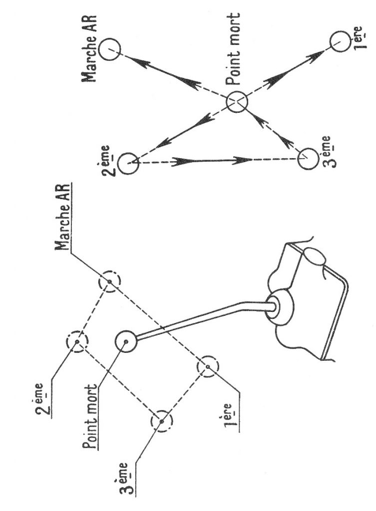
AFB. 4. – DASHBOARD EN BEDIENINGSELEMENTEN
De werking van de zojuist genoemde bedieningselementen is eenvoudig; die van de snelheidsverandering, iets gecompliceerder, wordt voldoende nauwkeurig aangegeven door Afb. 5.
Deze afbeelding laat zien wat de verschillende standen van de versnellingshendel moeten zijn, zodat de versnellingen overeenkomen met de drie snelheden en de achteruitversnelling in de versnelling staat.
14
De auto starten
Allereerst en om elk incident te voorkomen, is het goed om te controleren of de banden voldoende zijn opgepompt, of de remmen naar behoren werken en of de veren van de auto in uitstekende staat zijn.
Zorg er dan voor:
Dat de radiator vol water zit;
Of de motor voldoende olie bevat (dit wordt gecontroleerd met behulp van de maatstok aan de linkerkant van het carter; deze meter bevindt zich aan de dop van het olievulgat).
Dat de tank voldoende benzine bevat voor de af te leggen afstand; de maatstok die bij elke auto wordt geleverd en ondergedompeld in de benzinetank, maakt het mogelijk om dit te realiseren;
Dat de versnellingspook in neutraal staat;
Dat de handrem is aangetrokken;
Dat de brandstofkraan open staat;
Als al deze controles zijn gedaan, kruip achter het stuur en:
Zet de contactschakelaar in de aan-stand door deze volledig naar u toe te trekken;
Trap de startpedaal in om de motor te starten.
De start is over het algemeen eenvoudig.
Als het starten moeilijk gaat, gebruik dan de startmotor niet om de accu niet volledig te ontladen. We zullen dan de slinger gebruiken die aan de voorkant van de auto is geplaatst.
In de winter, als de motor koud is en het starten moeilijk gaat, is het een goed idee om de carburateur vol te laten lopen en de luchtinlaat af te sluiten door middel van de bedieningsknop luchtafsluiter carburateur klep, door de klepbedieningsknop naar u toe te trekken, bevestigd op het dashboard.
15

16
Terwijl de motor draait, wordt de auto op de volgende manier in gang gezet.
Druk op het linkerpedaal om te ontkoppelen;
Houd uw voet op het pedaal, pak de versnellingspook en trek deze naar achteren en naar rechts om de eerste versnelling in te schakelen;
Laat de handrem los;
Schakel geleidelijk in, waarbij u het linkerpedaal omhoog laat komen en licht accelereert.
Om naar de tweede versnelling te schakelen als de acceleratie voldoende is:
Laat tegelijkertijd het gaspedaal los als u ontkoppelt;
Duw de versnellingspook naar voren en naar links om de tweede versnelling in te schakelen;
Schakel opnieuw in en versnel.
Om over te schakelen naar de directe of derde versnelling, herhaalt u dezelfde cyclus van handelingen, waarbij u de hendel naar achteren en naar links brengt. Er moet voor worden gezorgd om alleen heel licht te ontkoppelen.
Schakel naar de achteruitversnelling, terwijl de auto stilstaat, door te ontkoppelen en de versnellingspook naar voren en naar rechts te duwen.
Op de weg.
Overschrijdt in de derde (directe) versnelling niet de 60 km per uur, 25 kilometer in tweede en 14 kilometer in eerste.
17
Tijdens de eerste 500 km mag u, om de motor in te laten lopen, niet sneller rijden dan 35 km/u.
Tijdens het rijden moet de bestuurder vaak op de ampèremeter op het dasboard kijken, die aangeeft of de dynamo de accu oplaadt.
Als zich een helling voordoet, beklim deze dan zo snel mogelijk in de directe aandrijving (derde versnelling) om oververhitting van de motor te voorkomen.
Als de heuvel te lang en te snel is en u voelt de motor verzwakken, schakel dan naar de tweede versnelling en van daaruit naar de eerste versnelling indien nodig. Het terugschakelen van de versnellingen wordt uitgevoerd door de omgekeerde bewerkingen van die eerder beschreven. Er zal echter op moeten worden gelet om tijdens deze operaties licht te blijven accelereren en niet volledig uit te schakelen.
Als het om welke reden dan ook nodig is om te vertragen, laat dan gewoon het gaspedaal los en rem zonder de koppeling los te laten.
Om lange heuvels af te dalen, gaat u op dezelfde manier te werk, maar zorg ervoor dat u nooit het contact uitschakelt, dit zou de bougies kunnen vervuilen.
Als het nodig is om plotseling te stoppen, gebruik dan beide remmen tegelijkertijd en ontkoppel kort voordat de auto stopt.
Eenmaal gestopt, als men niet onmiddellijk hoeft te vertrekken, is het volgende nodig:
Zet de versnellingshendel in neutraal;
Stop de motor door het contact uit te zetten;
Sluit de brandstofkraan, als langere tijd wordt gestopt.
Houd de handrem vast
18
III. ONDERHOUD EN SMERING VAN DE AUTO
HET CHASSIS
Het bijgevoegde smeerschema geeft duidelijk aan welke onderdelen moeten worden gesmeerd, evenals de frequentie van deze handelingen, aangenomen dat de auto een dagelijkse rit van 50 kilometer aflegt, ofwel ongeveer 400 kilometer per week.
Om het gebruik van dit diagram echter te vergemakkelijken, geven we hieronder enige aanvullende uitleg waaraan details zijn toegevoegd over het onderhoud van de mechanismen die geen smering nodig hebben.
Over het algemeen wordt aanbevolen om voor alle smeermiddelen alleen minerale olie van uitstekende kwaliteit en absoluut neutraal te gebruiken.
Motor.
Zoals we hierboven al zeiden, de smering van de wordt gedaan door onderdompelen op een constant niveau. De onderste behuizing van het carter vormt een reservoir en heeft een inhoud van 3 liter. Het wordt gevuld via een gat aan de linkerkant van het carter. De dop die op deze opening is geschroefd, is voorzien van een schaalverdeling, waarvan elke streepje overeenkomt met 1 liter, en waarmee u op elk moment de hoeveelheid olie in het carter kunt zien.
Aan de voorzijde van het carter en aan de linkerkant bevindt zich een niveauklep ter hoogte waarvan het oliepeil altijd op peil moet worden gehouden.
19
Laat het peil nooit zakken tot onder de onderste markering op de meter.
Het volstaat bovendien om te voldoen aan de indicaties van de plaquette die op de plaat links van het carter is bevestigd.
Het is absoluut noodzakelijk om in de winter vloeibare olie te gebruiken en in de zomer halfvloeibare olie.
Vervang de carterolie ongeveer elke 1.5oo kilometer volledig. U hoeft alleen de onder de behuizing geplaatste dopmoer los te draaien. Het is echter een goed idee om de eerste motorolieverversing ongeveer 500 kilometer nadat de auto in gebruik is genomen uit te voeren.
Erg belangrijk :
Na elke leging en vulling van het carter is het noodzakelijk om ervoor te zorgen:
1e Dat de olie goed door de niveaukraan aan de linkerkant en voor het motorcarter stroomt. Dit maakt het mogelijk om een zekere vulling met olie van de bakjes waarin de lepels van de drijfstangen duiken te verzekeren;
2e Dat de bakjesvoedingsoliepomp goed werkt. Om dit te weten te komen, schroeft u de zeshoekige bronzen plug los die zich aan de voorkant van de motorbehuizing bevindt, naast de hierboven aangegeven niveauklep. Start de motor en geef licht gas. Op dit moment zou de olie moeten ontsnappen door de ongeblokkeerde opening. Voeg anders nog een liter olie toe aan het carter en als de pomp nog steeds niet stroomt, moet u deze vullen door een of twee injectiespuiten olie door de opening te injecteren.
Zorg ervoor dat u de moer die de dop vormt goed vergrendelt wanneer u deze weer in elkaar zet.
20
Koppeling.
De koppeling heeft geen smering nodig behalve die van het drukkogellager. Verwijder hiervoor wekelijks of om de 400 kilometer het koppelingshuisdeksel en giet met een oliespuitje enkele druppels dunne olie op het druklager. Vermijd overmatige olie die de koppeling zou doen slippen.
Versnelling.
De inhoud van de versnellingsbak is ongeveer een halve liter. Het vullen gebeurt via de bovenste opening die voor de basis van de hendel is geplaatst en wordt afgesloten door een zeskantige moer. Gebruik zeer dikke olie.
Vermijd overvullen, het oliepeil moet iets boven de secundaire as staan. Dit is te controleren door het deksel van de behuizing te verwijderen. Het enige dat u hoeft te doen, is de vier moeren verwijderen waarmee deze aan de behuizing van de versnellingsbak is bevestigd en de moer losdraaien waarmee de remhendel aan de versnellingsbak is bevestigd.
Achterbrug.
De achteras heeft een vulopening die tegelijkertijd bepalend is voor het niveau. Vul één keer per maand of elke 1.500 km dikke olie bij, ongeveer totdat de olie gelijk staat met de opening (vulling).Het is een goed idee om een trechter te gebruiken om de handeling te vergemakkelijken.
21
Transmissie
De flexibele koppeling aan de voorzijde van de cardanas behoeft geen onderhoud. Smeer wekelijks of ongeveer elke 400 km het centreerlager aan de voorzijde van de reactiebuis met de daarvoor bestemde smeernippel. Smeer wekelijks met dikke olie de lagers van het aandrijfrondsel met behulp van de smeerinrichting die op de aluminium dop van de achteras is geplaatst.
Stuurinrichting
Twee zichtbare smeernippels maken het mogelijk om de behuizing een onderhoudsbeurt te geven, die bestaat uit smeren met dikke olie om de 400 kilometer. De trekstang is aan elk uiteinde voorzien van een smeernippel voor dikke olie, die ook wekelijks of ongeveer om de 400 kilometer moet worden gesmeerd.
Vooras.
Houd de voornaven altijd vol met dikke olie of speciaal vet voor kogellagers. Doe deze smering een keer per maand of ongeveer elke 1.500 km, met behulp van de wieldop die gevuld terug op de naaf wordt geschroefd totdat de olie uit de zijkant van de spindel komt.
Smeer de smeernippels die aan het bovenste deel van de asscharnieren zijn bevestigd wekelijks in met dikke olie. Smeer totdat er olie tussen de fusee en het asjuk ontsnapt.
22
Vering
Voor de voorveren, geen smering. De veren achter hebben elk een smeermiddel bij hun verbinding op de brug die ongeveer elke week moet worden gevuld. Smeer ook totdat de olie aan elke kant van de verbinding ontsnapt. Smeer wekelijks de smeernippels van de remas en de smeernippels van de achternaaflagers met dikke olie.
Magneto
Het onderhoud van de magneto komt neer op het ongeveer wekelijks toevoegen van een paar druppels vloeibare olie in de twee smeergaten die zich daar bevinden, één aan de voorkant, de andere aan de achterkant.

23

Het is een goed idee om af en toe de verdeler te bezoeken en een stuk stof over de noppen en de koolborstelhouder te halen om het stof te verwijderen.
Elektrische installatie
Dynamo.
Een aan de voorzijde van de dynamo geplaatste smeerinrichting zorgt voor de smering van het voorste lager; een paar druppels vloeibare olie per week is meer dan voldoende.
Het achterste lager wordt automatisch gesmeerd door de motor.
Te veel smering verstopt de dynamo- collector en belemmert de werking ervan.
24
Accu’s
Het onderhoud van de accu’s bestaat uit het om de drie weken controleren, door de drie doppen die op de tanks zitten los te draaien, of de vloeistof de platen goed

Fig. 8 De juiste methode om het gedistilleerde water in de accu bij te vullen.
25
bedekt; als het niveau lager is, gebruik dan een glazen trechter om een beetje gedestilleerd water bij te vullen zodat het vloeistofniveau ongeveer 1 cm boven de platen komt.
Reinig de polen van tijd tot tijd; verwijder eventueel aanwezige zouten.
Als de accu lange tijd ontladen is geweest, laat hem dan door een specialist opladen.
Startmotor.
In het voorste gedeelte bevindt zich een smeerinrichting. Smeer wekelijks met een paar druppels lichte olie. Een geoefende blik op de koppelingsbehuizing zorgt voor het invetten van de starterkrans.
Koplampen en lantaarns (stadslichten).
Houd de parabolische spiegels van de koplampen altijd schoon.
Reinig ze met wollen doeken of beter met zeemleer om krassen te voorkomen.
Als u een lamp vervangt, plaats deze dan zo dat de gloeidraad horizontaal is en niet verticaal; zorg ervoor dat de lampen scherp zijn en dat de lichtstralen iets naar de grond zijn gericht.
26
DE CARROSSERIE
In het begin, wanneer de auto nieuw is en de lak nog vers is, zal het nodig zijn om hem regelmatig te wassen om de lak uit te laten harden.
Het is een goed idee om de auto na een lange rit te wassen, om hem er lang elegant uit te laten zien.
Het wassen gebeurt met veel water met een spons. De sproeier en een harde borstel zullen alleen gebruikt worden voor de wielen, de as, de achteras, de treeplanken en de onderzijde van de spatborden. Zorg ervoor dat u de magneto voor het wassen met lappen bedekt om te voorkomen dat er water op komt.
Gebruik een mengsel van water en benzine om eventueel op de carrosserie gespat vet te verwijderen. Laat het water nooit op de carrosserie indrogen, aangezien elke druppel een vlek vormt; veeg het onmiddellijk na het wassen af, dep de natte delen met een zeemleer en zorg ervoor dat u nooit wrijft.
Zorg ervoor dat er geen water in de deurafdichtingen blijft staan. Polijst de lak af en toe met een wattenbolletje waarop we een beetje lijnolie of een ander poetsmiddel smeren.
De tapijten moeten eruit worden gehaald en geklopt; de kussens worden gereinigd met een spons en zeem. Maak ze om de twee weken schoon met watten gedrenkt in lijnolie, dit verwijdert de vlekken en herstelt het glanzende uiterlijk van het leer.
27
VI. STORINGEN EN OPLOSSINGEN
De omvang van dit boekje staat niet toe dit onderwerp uitgebreid te behandelen. Maar voor elk van de in het voorgaande bestudeerde onderdelen worden de meest voorkomende storingen aangegeven die de bestuurder met zijn eigen middelen kan verhelpen. Voor ernstigere incidenten en schade is het raadzaam de hulp in te roepen van de dichtstbijzijnde Citroën-vestiging, die de auto snel in uitstekende staat zal herstellen.
Voorafgaande opmerkingen.
Als het moeilijk is om de motor te starten, als de motor na het starten niet het gebruikelijke vermogen lijkt te leveren of als de motor na een paar honderd meter afslaat, mag dit niet worden geïnterpreteerd als ernstige schade of een defect in de constructie.
Controleer eerst of alle instructies in het hoofdstuk “Het gebruik van de auto” zijn opgevolgd:
Dat het contact niet is uitgeschakeld;
Dat de handrem niet is blijven staan na de start;
Dat de benzinekraan niet gesloten is;
Er benzine in de tank zit;
De radiateur vol water zit;
28
Of er voldoende olie in het carter zit.
Deze onoplettendheid of vergissingen komen vaak voor bij onervaren mensen.
Als alles normaal is, kunnen de onderdelen van de auto grondiger worden onderzocht.
De motor.
De meest voorkomende soorten schade die aan de motor kunnen ontstaan en die kunnen worden opgespoord doordat bij het draaien aan de krukas slechts een zeer lichte weerstand wordt gevoeld, zijn de volgende:
a) Klep zit vast door verstopte klepsteel, gebroken klepveer.
In het eerste geval reinigt u de klepsteel en -geleider door de cilinderkop te verwijderen. Als de veer gebroken is, vervangt u deze zonder de cilinderkop te demonteren, maar schroeft u het beweegbare deel van de klepstoter helemaal in, waarbij u voldoende ruimte laat voor de veer om erdoor te gaan.
b) De cilinderkoppakking lekt. Vervang deze voorzichtig om de nieuwe pakking niet te beschadigen.
Een kapotte pakking kan niet waterdicht zijn.
c) De kleppen met putjes of rusten niet goed op hun zitting (laat de motor inlopen in een werkplaats).
Het kan gebeuren dat de motor stopt na een paar omwentelingen of als hij op volle toeren draait:
1e. Vastlopen door gebrek aan water of olie.
29
2e . Een opeenhoping van olie in de cilinders door overvulling van het carter of onvoldoende afdichting van de zuigerveren. Hierdoor raken de bougies verstopt en kunnen ze niet ontsteken.
—–
Als de motor tijdens het rijden klopt, komt dat meestal doordat de compressieruimte verstopt is en zelfontbranding optreedt. Als dit het geval is, verwijder dan de cilinderkop en schraap de wanden van de compressieruimte en de bovenkant van de zuigers schoon.
Als het geluid duidelijk metaalachtig is, kan dit worden veroorzaakt door versleten drijfstanglagers (te repareren in een werkplaats).
Ontsteking.
Het meest voorkomende probleem, dat te herkennen is aan vermogensverlies en een karakteristiek kloppend geluid, is de verstopping van een of meer bougies. Gebruik een harde borstel en benzine om ze schoon te maken. Het kan ook gebeuren dat, omdat de elektroden te ver uit elkaar staan, de vonk niet meer door de bougies komt. Breng in dat geval de elektroden dichter bij elkaar door ze te buigen. De normale opening is ongeveer 4 tot 5/10 millimeter.
Het is ook mogelijk dat de magneto niet meer werkt. Dit kun je controleren door de motor aan te zwengelen en de uiteinden van de bougiekabels dichter bij de cilinderkop (massa) te brengen.
Als er geen vonk is, werkt de magneet niet goed. Zoek in dit geval naar :
a. Of er een draadbreuk of kortsluiting is.
b. Of het schakelmechanisme vuil is en niet goed is
30

FIG. 9 – BOUGIE VERWIJDEREN
afgesteld. De geplatineerde schroeven moeten ongeveer 4/10 millimeter uit elkaar staan, de dikte van een visitekaartje. Als de tussenruimte te groot of te klein is, moeten ze dichter bij elkaar of verder uit elkaar worden gezet met de stelschroef, waarbij erop moet worden gelet dat de borgmoer wordt vastgezet (delicate afstelling).
c) De koolborstel van de verdeler is vuil of zit vast. Maak hem schoon met een fijne schuurspons aan het uiteinde. Reinig ook het pad van de verdelerpennen met een stuk doek.
Als de motor tijdens het gebruik hapert, controleer dan of de contacten goed vastzitten en draai de moeren vast waarmee de draden aan de bougies vastzitten. Controleer zoals voorheen de stroomonderbreker en de verdeler.
31

32
Carburateur.
De carburateur van de auto wordt zorgvuldig afgesteld geleverd en er mag niet mee geknoeid worden. Ter indicatie volgt hier echter de normale afstelling voor deze carburateur
Sproeier. 12,5 mm
Hoofdsproeier 65
Hulpsproeier 35

Het demonteren van de horizontale SOLEX-carburateur die op Citroëns wordt gebruikt, is heel eenvoudig. De figuren hiernaast laten duidelijk zien hoe de handeling moet worden uitgevoerd.
33
Storingen in de carburateur kunnen een van de volgende oorzaken hebben:
a) Er zit water in de benzine. De motor loopt slecht of stopt. Dit wordt veroorzaakt doordat een waterdruppel de sproeiers blokkeert. Draai de centrale moer los om de carburateur te verwijderen, maak de tank schoon en blaas hard in de sproeiers om het water te verwijderen.
b) Als de pakking van de carburateur niet goed is aangedraaid, wordt er lucht aangezogen tussen de carburateur en de motor. Dit resulteert in slechte motorprestaties. De pakking moet worden vervangen.
c) Er zit een gat in de vlotter. Het brandstofniveau in de carburateur is te hoog en de motor kan niet worden gestart. De vlotter moet gerepareerd of vervangen worden.
d) Het benzineslangetje is verstopt, waardoor de motor volledig afslaat. Controleer of dit een verstopping is door te kijken of er wel brandstof naar de carburateur stroomt.
—–
Als de motor tijdens het rijden plotseling afremt en je moeite hebt om weer te starten, komt dit meestal doordat vuil of een waterdruppel de grote sproeier heeft verstopt. Dit kan worden verwijderd door de dop los te draaien en te ontstoppen door hard te blazen.
34
Elektrische apparatuur.
De meest voorkomende storingen zijn :
Tijdens het starten
a) Slecht contact tussen de aansluitpunten van de uitrusting (starter, voetpedaal, batterij) of slecht contact tussen de negatieve draad van de accu en de aarde.
b) Accu is gesulfateerd, ontladen of heeft te weinig vloeistof.
Als de accu slechts gedeeltelijk ontladen of licht gesulfateerd is, hoeft u zich geen zorgen te maken, deze wordt automatisch hersteld door de stroom die door de dynamo wordt geproduceerd.
Als de accu ernstig gesulfateerd is, moet u deze door een specialist laten repareren.
c) Een van de onderdelen van de accu heeft kortsluiting gemaakt. Controleer dit met een voltmeter of dichtheidsmeter; elk element moet een elektromotorische kracht van 1,8 volt hebben met de koplampen aan.
d) Defecten in de startmotor. (Laten controleren en repareren door een specialist).
In de verlichting:
Als de lampen niet branden, en na gecontroleerd te hebben of ze niet doorgebrand zijn en of de zuigers van de lampfittingen in goede staat zijn, zoek dan met behulp van het schema naar de oplossing van de continuïteit in het circuit van de lampen.
35
Als de lampjes rood blijven bij draaiende motor, is er kortsluiting of zijn de contacten slecht.
Als de verlichting defect is wanneer de auto stilstaat, duidt dit op een ontladen, gesulfateerde of bijna lege accu.
In de claxon:
Het niet werken van de claxon, als al het andere in de installatie werkt, is te wijten aan slechte contacten, gebroken draden of een slechte aarde in de elektrische installatie van de claxon.
In de dynamo:
Als wordt vastgesteld dat de dynamo niet of onvoldoende oplaadt, is het een goed idee om dit door een specialist te laten controleren, aangezien deze handeling vrij complex is.
Koppeling.
Als de koppeling slipt en de auto slecht rijdt, is de voering versleten en moet deze in de werkplaats worden vervangen.
In eerste instantie kan dit worden verholpen door de druk van de koppelingsveren te verhogen.
Deze uiterst delicate operatie omvat het losdraaien van de zes borgmoeren op de plaat die het grote tandwiel draagt. Zodra deze borgmoeren zijn losgedraaid, moeten de zes corresponderende moeren iets worden aangedraaid en de borgmoeren opnieuw worden vastgezet.
36
Omdat het afstelmechanisme erg gevoelig is, hoeft u slechts één slag tegelijk te draaien en ervoor te zorgen dat u elk van de zes moeren exact even vast aandraait. Draai de moeren nooit volledig vast, omdat dit het losmaken onmogelijk zou maken.
Versnellingsbak.
Problemen met de versnellingsbak zijn over het algemeen vrij zeldzaam als ervoor is gezorgd dat deze altijd goed wordt gesmeerd.
Elke keer dat u werkzaamheden aan deze versnellingsbak of aan de koppeling moet uitvoeren met behulp van een metalen gereedschap, moet u de kabel van het startpedaal naar de accu loskoppelen om kortsluiting te voorkomen die de accu’s ernstig kan beschadigen.
Stuurinrichting
De zwaarte van de besturing is meestal te wijten aan een gebrek aan smering in het stuurhuis en de draaipunten van de as.
Als de auto constant naar een kant van de weg wordt getrokken, zijn de stuurhendels verbogen als gevolg van een botsing, of simpelweg omdat een band onvoldoende is opgepompt.
Het toespoor van de wielen moet ongeveer 4 millimeter zijn.
37
